Наука и точка - 8

Система машинного перевода от Google

Работники Google представили новое изобретение: система машинного перевода, основанная на принципах глубинного обучения. Данная система, как гласят оценки добровольцев, обладает более высокой точностью, нежели ранее существовавшие аналоги. Описание проекта находится в базе arXive.org Над созданием подобной системы, которая могла бы осуществить точный перевод с одного языка на другой, трудятся различные специалисты уже много лет. Но представленные системы едва ли могут соперничать с живыми переводчиками, впрочем, только пока.…

Подробнее

Противогрибковый препарат обнаружен муравьями-листорезами

Личинки американских муравьёв-листорезов живут в грибных садах, расположенных в муравейниках. Грибы выполняют важнейшую роль в рационе этих насекомых: для взрослых муравьев это отличное дополнение к основной пище, а для личинок – основное питание. Однако грибы необходимы муравьям не только в качестве пищи: гифы грибов служат покрытием личинок и куколок. Задача этого покрытия в том, чтобы защитить личинок от патогенных микроскопических грибков. Американские муравьи-листорезы из трибы Attini практикуют…

Подробнее

В России запущена оплата покупок с помощью отпечатков пальцев

Пилотный проект представлен в одном из магазинов Москвы на Нахимовском проспекте. Технология, разработанная совместно со Сбербанком, устроена достаточно просто: пользователь регистрирует свою банковскую карту (сейчас поддерживается Visa и MasterCard) и отпечатки пальцев (одного или нескольких). В дальнейшем для оплаты покупки будет достаточно приложить палец к специальному терминалу на кассе. PIN-код или подпись клиента не будет запрошена, так как биометрия обладает достаточной степенью защиты. Особо отмечается защищённость системы…

Подробнее

Первые испытания метанового ракетного двигателя от компании Space X

Крупнейший производитель космической техники, компания Space X провела первые испытания ракетного двигателя для межпланетных полётов, о чём сообщил в своём твиттере основатель компании, инженер и изобретатель Илон Маск.   Ракетный двигатель Raptor является метановым двигателем. Изобретение планируется использовать в проекте Межпланетной Транспортной Системы, а в частности для полёта на Марс. Об этом достижении впервые стало известно в 2009, однако по сей день информация о точных технических характеристиках…

Подробнее

Старт продаж iPhone 7

На этих выходных в Росии и странах СНГ начались продажи нового iPhone 7 . В многочисленных точках продаж мероприятие прошло совершенно по-разному. В московском ЦУМе люди занимали очереди за 15 часов до полуночи (официальное время начала продаж). Чувствовалась нехватка некоторых моделей телефона: например, iPhone 7 Plus в цвете Jet Black с 256 гигабайтами встроенной памяти был в единственном экземпляре (стоимость аппарата - 86 тыс рублей). Новые поставки…

Подробнее

Ещё одна победа искусственного интеллекта

В этот четверг прошло соревнование между компьютерными алгоритмами по игре Doom, вышедшей в 1993 году. По итогам победа досталась программам, созданным Facebook и Intel. Причём первый алгоритм победил в номинации "игра на известной карте и с одним видом оружия", а второй - в более сложной "игра на неизвестной карте с неограниченным вооружением". Искусственный интеллект уже не в первый раз обходит человека в популярных играх. Так, алгоритм Google…

Подробнее

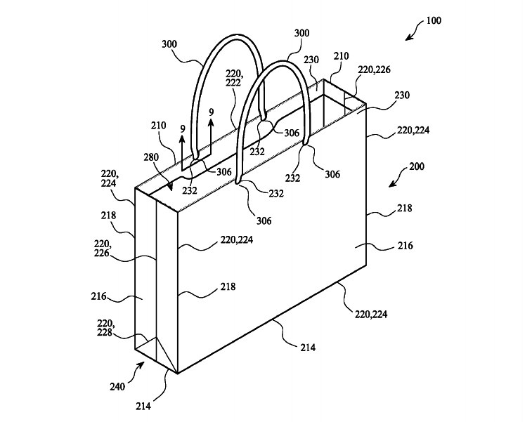
Компания Apple запатентовала бумажный пакет

15 сентября комиссия по патентам США зарегистрировала заявку компании Apple. Крупный IT-производитель собирается запатентовать бумажные пакеты, используемые в магазинах компании для упаковки покупок. Спецификация "изобретения", описанного в заявке, включает себя "контейнер и ручки". Отдельно оговорено, что такое описание (сопровождённое схемами) не является ограничивающим и предназначено для пояснительных целей. Таким образом, все существующие сейчас бумажные пакеты можно привести в качестве примера. Сложно понять точную причину, по которой компания…

Подробнее

Роботы виртуального присутствия помогают адаптации детей

Учёные университета Калифорнии пришли к выводу, что при надомном обучении детям сложнее даётся социализация (адаптация в обществе). Основной целью исследователей стало изучение влияния роботов виртуального присутствия на данные процессы. Роботы присутствия устроены довольно просто: он оснащён камерой, экраном и подключён к интернету. Ребёнок, вынужденный заниматься дома вместо школы по медицинским показаниям, со своего домашнего компьютера видит происходящее вокруг, управляет движением и передаёт речь и текст. Учёные обнаружили,…

Подробнее

Плутон светится в рентгеновском излучении

Физики гарвардской космической обсерватории "Чандра" обнаружили, что Плутон испускает рентгеновские лучи. Это первый подобный объект в поясе Койпера. Открытие позволит учёным понять, из чего состоит атмосфера небесного тела и какими свойствами она обладает. Сам Плутон представляет собой каменную планету со слоем льда на поверхности. Существует теория, что рентгеновское излучение образуется от взаимодействия атмосферных газов тел с солнечным ветром (это поток частиц, которые выбрасывает Солнце со скоростью около…

Подробнее

Площадь ледяного покрова Арктики достигла критического минимума

Согласно исследованиям учёных национального центра данных снега и льда, площадь покрова Арктики сейчас составляет 4,14 млн квадратных километров. Не смотря на то, что цифра кажется огромной, для арктики это критическая отметка: такой малой площадь не была ещё никогда в истории наблюдений (с 1979 года). Нормой считается отметка около 8 млн квадратных километров. Обычно ледяной покров увеличивается осенью и зимой, а подтаивает к весне и во время лета.…

Подробнее